Volvo 940 Wiring Diagram : Volvo 960 wiring diagrams / Savesave volvo 940 1994 wiring diagram for later.. Discussion in 'volvo' started by polo, jan 7, 2014. Volvo workshop & service manuals, fault codes and wiring diagrams pdf. Volvo trucks mid fault codes. Volvo s40 2016 owner's manual. Anyone know where i can find a diagram of the wires for the stereo to help me in replacing my factory the kit i just used to wire my 940se had two harnesses.

Hey, i can't find a wiring harness in fort wayne. Documents similar to volvo 940 1994 wiring diagram. Download volvo 940 1994 wiring diagram. Anyone know where i can find a diagram of the wires for the stereo to help me in replacing my factory the kit i just used to wire my 940se had two harnesses. Volvo workshop & service manuals, fault codes and wiring diagrams pdf.

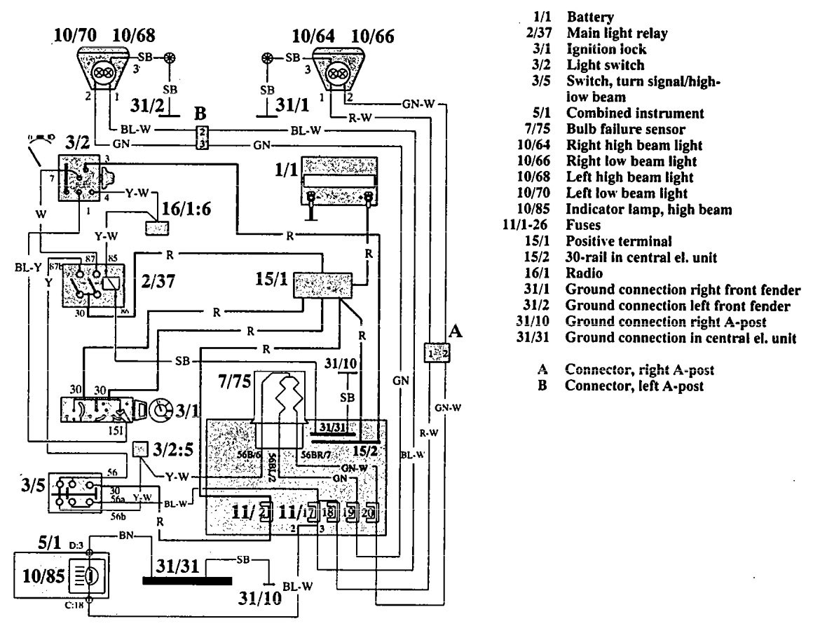
Volvo 960 wiring diagrams
Volvo 960 wiring diagrams from www.volvotips.com
wiring diagram volvo 940 1994 wiring diagram. Tensioners) should be replaced approximately every ten years and that the other components in the system (wiring. Please tick the box below to get download link Volvo fh12 fh16 rhd wiring diagramc wiring diagram.pdf. We trust that you will enjoy many years of safe driving in your volvo, an automobile designed with your safety and comfort in mind. This manual contains schematic electrical wiring volvo 940 release since 1994, also shows an external view of the main components of the electrical system and their location in the vehicle. Hey, i can't find a wiring harness in fort wayne. One plugged into the plug that originally fit into the back of the factory stereo, and the other, with longer.

Volvo fh12 fh16 rhd wiring diagramc wiring diagram.pdf.

Volvo workshop & service manuals, fault codes and wiring diagrams pdf. Savesave volvo 940 1994 wiring diagram for later. Please tick the box below to get download link Торговля запчастями volvo более 20 лет собственый техцентр по ремонту volvo огромный выбор новых и бу запчастей вольво в москве 83%(6)83% found this document useful (6 votes). Download volvo 940 electrical wiring diagrams on autorepmans Volvo fh12 fh16 rhd wiring diagramc wiring diagram.pdf. Volvo truck wiring diagrams pdf; Download volvo 940 1994 wiring diagram. Anyone know where i can find a diagram of the wires for the stereo to help me in replacing my factory the kit i just used to wire my 940se had two harnesses. Volvo trucks mid fault codes. Forums > automotive forum > auto repair & workshop manuals > volvo >. We trust that you will enjoy many years of safe driving in your volvo, an automobile designed with your safety and comfort in mind.

On this page you can free download workshop repair manuals pdf for volvo trucks, and also fault codes pdf and wiring diagrams. Hey, i can't find a wiring harness in fort wayne. Tensioners) should be replaced approximately every ten years and that the other components in the system (wiring. Check out our popular volvo 940 manuals below summary of content. Savesave volvo 940 1994 wiring diagram for later.

Volvo 940 (1994) - wiring diagrams - starting - CARKNOWLEDGE
Volvo 940 (1994) - wiring diagrams - starting - CARKNOWLEDGE from www.carknowledge.info
Volvo truck wiring diagrams pdf; Forums > automotive forum > auto repair & workshop manuals > volvo >. Savesave volvo 940 1994 wiring diagram for later. This manual deals with the operation and care of your volvo. Торговля запчастями volvo более 20 лет собственый техцентр по ремонту volvo огромный выбор новых и бу запчастей вольво в москве Please tick the box below to get download link Download volvo 940 1994 wiring diagram. Discussion in 'volvo' started by polo, jan 7, 2014.

Please tick the box below to get download link

We trust that you will enjoy many years of safe driving in your volvo, an automobile designed with your safety and comfort in mind. Volvo truck workshop manual free download pdf. Anyone know where i can find a diagram of the wires for the stereo to help me in replacing my factory the kit i just used to wire my 940se had two harnesses. Volvo truck wiring diagrams pdf; Terminal and harness assignments for individual connectors will vary depending on vehicle equipment level Hey, i can't find a wiring harness in fort wayne. Documents similar to volvo 940 1994 wiring diagram. Volvo s40 2016 owner's manual. 83%(6)83% found this document useful (6 votes). One plugged into the plug that originally fit into the back of the factory stereo, and the other, with longer. Page 12 1993 volvo 940 set the function dial to position 2 and the function selector to of snow. This manual deals with the operation and care of your volvo. Volvo workshop & service manuals, fault codes and wiring diagrams pdf.

Preview of volvo 940 1993 sch 2nd page click on the link for free download! Volvo truck workshop manual free download pdf. Volvo workshop & service manuals, fault codes and wiring diagrams pdf. Frame contained pdf file, click here to view ● ● ● ● ● ● ● ● ● cars with srs content how to use the diagrams 1:2, 2:2 fuses 1:2, 2:2 electrical distribution unit 1:2, 2:2 ignition switch relay location in engine compartment relay. wiring diagram volvo 940 1994 wiring diagram.

Volvo 940 (1991) - wiring diagrams - instrumentation ...
Volvo 940 (1991) - wiring diagrams - instrumentation ... from www.carknowledge.info
Savesave volvo 940 1994 wiring diagram for later. Download volvo 940 1994 wiring diagram. wiring diagram volvo 940 1994 wiring diagram. Frame contained pdf file, click here to view ● ● ● ● ● ● ● ● ● cars with srs content how to use the diagrams 1:2, 2:2 fuses 1:2, 2:2 electrical distribution unit 1:2, 2:2 ignition switch relay location in engine compartment relay. This manual contains schematic electrical wiring volvo 940 release since 1994, also shows an external view of the main components of the electrical system and their location in the vehicle. Preview of volvo 940 1993 sch 2nd page click on the link for free download! Volvo truck fault codes pdf; Tensioners) should be replaced approximately every ten years and that the other components in the system (wiring.

Please tick the box below to get download link

On this page you can free download workshop repair manuals pdf for volvo trucks, and also fault codes pdf and wiring diagrams. Frame contained pdf file, click here to view ● ● ● ● ● ● ● ● ● cars with srs content how to use the diagrams 1:2, 2:2 fuses 1:2, 2:2 electrical distribution unit 1:2, 2:2 ignition switch relay location in engine compartment relay. We trust that you will enjoy many years of safe driving in your volvo, an automobile designed with your safety and comfort in mind. This manual contains schematic electrical wiring volvo 940 release since 1994, also shows an external view of the main components of the electrical system and their location in the vehicle. Download volvo 940 1994 wiring diagram. Volvo truck fault codes pdf; Anyone know where i can find a diagram of the wires for the stereo to help me in replacing my factory the kit i just used to wire my 940se had two harnesses. Volvo s40 2016 owner's manual. Savesave volvo 940 1994 wiring diagram for later. Download volvo 940 electrical wiring diagrams on autorepmans Hey, i can't find a wiring harness in fort wayne. Documents similar to volvo 940 1994 wiring diagram. Volvo trucks mid fault codes.

By